DIBUJO TECNICO ESCALA Y ACOTACION

Elementos Equidistantes. Indicaciones Especiales. 1.1 Sistemas de Acotación. Según el proceso de fabricación de una pieza, por arranque de viruta, forja, troquelado etc., se empleará un tipo de acotación diferente. Los sistemas de acotación son los siguientes. a) Acotación en serie. b) Acotación en paralelo. c) Acotación por coordenadas.
Clase de ACOTACIÓN por el método de las 4 fases Dibujo Técnico

La acotación de estos elementos determinan una serie de cotas que se pueden clasificar de la siguiente manera: Cotas funcionales: las que especifican la función del producto. Son esenciales para su fabricación. Cotas auxiliares: las que dan información complementaria de la pieza.
DIBUJO TECNICO ESCALA Y ACOTACION

Diapositiva 1. Normas básicas de acotación Francisco Jurado Molina. Normas básicas IES San de acotación Ju n de la Cruz (Úbeda) Profesor: Francisco Jurado Molina. Pt. Definición. La acotación en dibujo lineal es el proceso de anotar, mediante líneas, cifras, signos y símbolos, las medidas de un objeto.
Acotaciones Dibujo Dibujo técnico
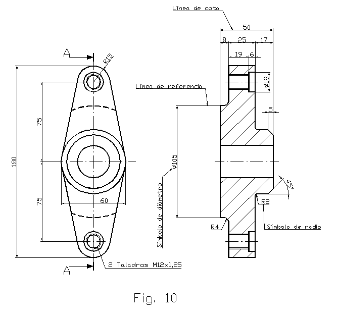
Flechas de cota. Son dos símbolos que marcan los extremos de la línea de cota. La norma permite variaciones sobre estos símbolos, tal y como se verá más adelante. Cifra de cota. Es la indicación numérica de la medida, en las unidades de medida que tenga el plano por defecto.
TÉCNICO AUXILIAR EN DISEÑO INDUSTRIAL ACOTACIÓN CAPAS II

Normas generales. Las cifras de cotas indicarán siempre el valor real de la dimensión acotada, independientemente de la escala del dibujo, expresadas en la misma unidad (en dibujo técnico se expresan en mm); si en alguna no es posible, se anotará después de la cota la unidad diferente.
DIBUJO TECNICO ESCALA Y ACOTACION

Las acotaciones se utilizan para representar las medidas y dimensiones de los objetos en el dibujo técnico, lo que permite una adecuada interpretación de las dimensiones y garantiza una producción homogénea de las piezas en la fabricación a gran escala. ¿Qué tipos de acotaciones existen?
• Reglas básicas de acotación

Existen diferentes tipos de acotaciones en dibujo técnico, desde la acotación consecutiva hasta la acotación por espacio, y es importante conocer cada una de ellas para utilizarlas correctamente en nuestros dibujos técnicos.
Acotaciones (2018). Dibujo técnico Técnicas de dibujo, Técnico, Dibujos

Los tipos básicos de acotación son lineales, radiales, angulares, ordenadas y de longitud de arco . Utilice el comando DIM para crear dimensiones automáticamente según el tipo de objeto que desea dimensionar. ¿Qué son las acotaciones 3 Grado? Acotación.
DIBUJO INDUSTRIAL Acotación.

En función de su cometido en el plano, las cotas se pueden clasificar en: Cotas de dimensión (d): Son las que indican el tamaño de los elementos del dibujo (diámetros de agujeros, ancho de la pieza, etc.). Cotas de situación (s): Son las que concretan la posición de los elementos de la pieza.
Acotación « Portal de Dibujo Técnico

Tipos de acotación. Acotación por coordenadas. Acotación tabulada. Acotación en paralelo. Acotación combinada. Las cotas y sus tipos. Principios fundamentales del dibujo acotado. Disposición de las cotas. Simplificaciones. Véase también. Referencias. Enlaces externos. Acotación. Para otros usos de este término, véase Comentario.
PIEZA ACOTACIONES PARA UNA PIEZA MECANICA. Diseño de ingeniería mecánica, Dibujo tecnico

La acotación de estos elementos determinan una serie de cotas que se pueden clasificar de la siguiente manera: Cotas funcionales: las que especifican la función del producto. Son esenciales para su fabricación. Cotas auxiliares: las que dan información complementaria de la pieza.
Ejemplos De Acotaciones Dibujo

Tipos de Acotaciones. 5.6. Bibliografía. 5.1.-INTRODUCCION: La acotación es el proceso de anotar, mediante líneas, cifras, signos y símbolos, las medidas de un objeto, sobre un dibujo previo del mismo, siguiendo una serie de reglas y convencionalismos, establecidos mediante normas.
ACOTADO
Existen varios sistemas de acotación utilizados en el dibujo técnico. El más común es el sistema de acotación decimal, utilizado en casi todos los países. Otros sistemas comunes incluyen el sistema de acotación en pulgadas, el sistema de acotación en milímetros y el sistema de acotación en centímetros.
Acotacion Teoría de iniciación y resumen de acotación básica en dibujo técnico ACOTACIONES 1
Tipo de ejercicio: Desarrollo. Contenido: Normalización. Relacionado con: Axonométrico. Procedimientos. Nivel del alumnado: Bachillerato, Selectividad. Lugar de origen: General. Autor del recurso: Arturo Geometría. Anterior Pieza en Caballera con coeficiente de reducción a partir de sus vistas. Siguiente Corte y acotación de una pieza.
DIBUJO TECNICO ESCALA Y ACOTACION

realizado por José Manuel García de Paredes. La acotación es el proceso de anotar, mediante líneas, cifras, signos y símbolos, las mediadas de un objeto, sobre un dibujo previo del mismo, siguiendo una serie de reglas y convencionalismos, establecidos mediante normas.
DIBUJO TECNICO ESCALA Y ACOTACION

Definición y tipos. Acotar en dibujo técnico es especificar las medidas reales y los detalles que complementan a una forma, figura, objeto o pieza representado en un plano. Importante. La función principal de la acotación es transmitir, de una manera clara y precisa, la forma y el tamaño de un objeto. Para saber más.
.